Tie Down Hook Cap - Volvo (39842088)

2018-2025 Volvo

Tie Down Hook Cap - Volvo (39842088)

2018-2025 Volvo

Genuine Volvo Parts
Volvo Parts
  • Volvo
  • 39842088

Details

  • Brand:

     Parts

  • SKU:

    39842088

  • Positions: Left, Right
  • Other Names:

    Cap

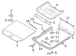
  • Description:

    Floor trim, charcoal. Left side, charcoal. Right side, charcoal. Trunk trim, from ch 205848. Trunk trim, fm ch 205848.

  • MSRP: $44.27
  • Discount: $10.84 (24.5% off)
  • Sale Price: $33.43
Spend $400.00 more to get 20% off shipping!
Manufacturer Warranty Minimum of 12 Months
Guaranteed Fitment Always the correct parts
Shop with Confidence Your information is safe
In-House Experts We know our products
Genuine Volvo Parts
Volvo Parts
  • Volvo
  • 39842088

Details

  • Brand:

     Parts

  • SKU:

    39842088

  • Positions: Left, Right
  • Other Names:

    Cap

  • Description:

    Floor trim, charcoal. Left side, charcoal. Right side, charcoal. Trunk trim, from ch 205848. Trunk trim, fm ch 205848.

Vehicle Fitment

Vehicle Fitment
Year Make Model Body & Trim Engine & Transmission
( more fitments)
No fitment data available

Volvo Parts Counter

At Volvo Parts Counter we always provide our customers with the best online parts buying experience. With years of auto parts experience and an extensive inventory it is easy for us to get our customers the parts they need without delay. We understand how important it is to get the right part the first time which why our site has multiple search options including VIN search. We also have multiple fast shipping methods that will deliver straight to your door.

If you are working on a major project or a simple repair and need some assistance, feel free to contact our wonderful parts professionals at 860-408-6090 and they will be able to answer any of your questions. 

Volvo

This Tie Down Hook Cap fits all 2018-2025 Volvo vehicles. If this is not the part you were looking for, browse our catalog by vehicle here.